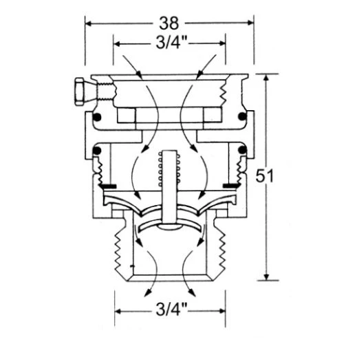
Ce mini disconnecteur pour tuyau d’arrosage HA8 Watts est conçu pour l’intercale sur tout robinet de puisage et d’arrosage entre le flexible (ou le tube souple) et le nez du robinet.
Caractéristiques techniques :
- Pour tuyau d’arrosage
- Dispositif anti-siphon
- Dispositif inviolable par vis brisée
- Répond aux dispositions du règlement sanitaire
- Raccordement : femelle (sur le nez du robinet) 20 x 27, sortie mâle 20 x 27
- Finition : brute
- Corps : laiton
- Ressort : acier inox
- Membrane : élastomère
- Température maximum : 60 °C
- Pression maximum : 10 bar













Avis
Il n’y a pas encore d’avis.